闭式泡沫-水喷淋装置Closed Foam Water Spray Device
产品简介Product Introduction
闭式泡沫-水喷淋装置是一种灭火效能高,应用范围广的固定式灭火设备。适用于可安装水喷淋保护系统的有可燃液体
存在的建筑物和构筑物内,如危险品仓库、车库、飞机库、停车场、化工厂、锅炉房、石化企业、冶金企业等,另外,对常
见物质的A类火灾,以及橡胶、塑料、合成纤维等物质的火灾也有很好的扑灭效果。

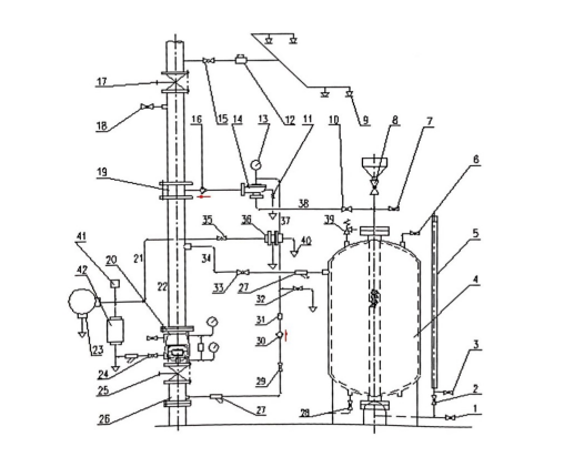
工作原理Working principle
系统保护区域内的环境温度由于火灾而升高,达到闭式洒水喷头【9】动作温度而使喷头开启喷水,水流指示器【12】
动作,湿式报警阀【20】开启,压力水通过报警截止阀【24】,经延迟器【42】,进入报警泄压管道【21】,水力警铃【23】
开始报警,压力开关【41】动作,启动消防水泵,向系统管网加压供水。同时,压力水经过压力泄放阀的供水阀【35】,打开
压力泄放阀【36】,使控制管路【37】中的压力水泄压,泡沫液控制阀【14】自动开启。带胶囊的泡沫罐【4】由于来自泡沫
罐供水管路【34】的压力水挤压,使囊内泡沫液控制阀【14】和从主管路【22】进入泡沫比例混合圈【19】的水混合,形成泡
沫混合液,经由开启的洒水喷头【9】喷出,进行灭火。
基本结构Basic Structure
本装置主要由泡沫液贮罐、泡沫比例混合器、压力泄放阀、泡沫液控制阀、湿式报警阀和管道及配套组成。


Copyright © 2002-2022 山东泽天消防科技有限公司 版权所有 Powered by EyouCms 备案号:鲁ICP备19017491号-1